Регулятор расхода РР 50 предназначен для регулирования и поддержания давления воды на заданном уровне. Работает автономно, без постороннего источника энергии. Применяется в отопительных системах жилых, общественных и промышленных зданий.
OOO "ГазКип-Оборудование" – ведущий российский поставщик оборудования для систем водоснабжения, газоснабжения и отопления. Своим клиентам мы предоставляем полную информацию о технических характеристиках товаров и особенностях эксплуатации. Получить помощь специалиста или оформить заказ можно по тел. +7 (916) 737-62-61.
Изменение расхода воды в сети происходит за счет колебаний напора, который, в свою очередь, меняется при уменьшении или прекращении пользования водой потребителями. При увеличении напора перед отопительными вводом (рис.2) возрастает давление внутри сильфона, и регулирующий клапан, изменяя проходное сечение, дросселирует часть напора, вследствие чего разность давлений на падающей и обратной линиях за регулятором остается постоянной. Следовательно, остается постоянными и расход воды.

Рис.2 Схема отопительного ввода:
1 — задвижка, 2 — грязевик, 3 — регулятор РР, 4 — крестовина, 5 — фильтр-отстойник, 6 — тройник, 7 — вентиль, 8 — трубка d8x2, 9 — водомер, 10 — регулятор давления РД
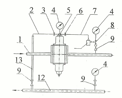
Регулятор устанавливается на подающем трубопроводе в вертикальном положении так, чтобы вода входила со стороны конической части клапана. Схема соединений гидравлических элементов при монтаже должна соответсвовать указанной на рис.3.

Рис. 3 Схема установки регулятора расхода воды прямого действия
1 — подающий трубопровод, 2,7 — трубка dу8х2, 3 — дроссельная шайба (d1), 4 — манометры, 5 — крестовина, 6 — дроссельная шайба (d2), 8 — тройник, 9 — вентили, 10 — фильтр-отстойник, 11 — регулятор, 12 — обратный трубопровод, 13 — трубка dy15x2,8
Область применения регуляторов – отопительные системы жилых, промышленных и общественных зданий. Регуляторы давления применяются в системах отопления с элеваторными узлами для поддержания постоянного расхода теплофикационной воды и перепада давления между подающим и обратным трубопроводами.
| Устройство регулятора расхода.
|
| Код ОКП | 42-1863 0042 |
| Условный проход, мм | 40 |
| Длина, мм | 130 ± 10 |
| Ширина, мм | 150 ± 10 |
| Высота, мм | 530 ± 20 |
| Масса, не более, кг | 21 |
| Код ОКП | 42-1863 0043 |
| Условный проход, мм | 50 |
| Длина, мм | 150 ± 10 |
| Ширина, мм | 165 ± 10 |
| Высота, мм | 600 ± 20 |
| Масса, не более, кг | 30 |
| Код ОКП | 42-1863 0044 |
| Условный проход, мм | 80 |
| Длина, мм | 350 ± 10 |
| Ширина, мм | 290 ± 10 |
| Высота, мм | 720 ± 20 |
| Масса, не более, кг | 80 |
| Код ОКП | 42-1863 0045 |
| Условный проход, мм | 100 |
| Длина, мм | 450 ± 10 |
| Ширина, мм | 380 ± 10 |
| Высота, мм | 850 ± 20 |
| Масса, не более, кг | 122 |