+7 (916) 737-62-61
Краны шаровые газовые 11Б27п

Краны шаровые газовые 11Б27п

 Узнать стоимость 









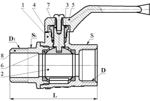
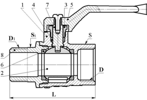
Кран шаровой, полнопроходной, газовый 11Б27п4
Кран шаровой, полнопроходной, газовый 11Б27п4
Кран шаровой, полнопроходной, газовый 11Б27п4

Краны шаровые относятся к промышленной арматуре и предназначены для применения в различных отраслях народного хозяйства в качестве запорных устройств на трубопроводах воды, пара, природного газа, масла и других сред, нейтральных к материалам деталей кранов.

  • Ручка-рычаг (возможна ручка-бабочка для DN15 - DN20)
  • Материал: латунь ЛЦ 40 Сд или латунь ЛЦ 40 С
  • Температура рабочей среды,°С - от - 50 до +150
  • Давление номинальное, PN, МПа - 1,6
  • Давление испытательное, PN, МПа - 2,4
  • Класс герметичности затвора - «А» по ГОСТ 9544-2005



  1. Корпус.
  2. Крышка уплотнительная.
  3. Шпиндель.
  4. Седло.
  5. Пробка.
  6. Гайка сальника.
  7. Втулка сальника.
  8. Ручка.

 

Значение

Параметр

DN 15

DN15

DN20

DN20

DN25

DN32

DN40

DN50

Диаметры:

- нормальный, мм

- эффективный, мм

 

15

15

 

15

15

 

20

17,5

 

20

17,5

 

25

24

 

32

30

 

40

37

 

50

47

Обозначение по таблице фигур:

- для природног газа

11Б27п4

Резьбы присоединительных муфт:

- D (с 2-х сторон)

- D и D1, дюйм

G1/2-B

 

G1/2-B

G3/4-B

G3/4-B

 

G3/4-B

G1-B

G1-B

G1 1/4-B

G1 1/2-B

G2-B

Масса, кг, не более

0,230

0,26

0,30

0,33

0,52

0,700

1,100

1,700

Строительная длина, L, мм, не более

52

58

60

62

70

83

89

105

Размер "под ключ", S (S1), мм

27

27 (32)

32

32 (41)

41

48

55

70

 Узнать стоимость 
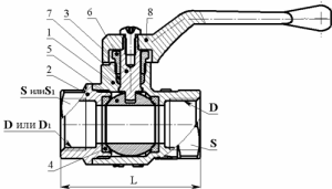
Кран шаровой, полнопроходной,газовый муфта-цапка 11Б27п6
Кран шаровой, полнопроходной,газовый муфта-цапка 11Б27п6
Кран шаровой, полнопроходной,газовый муфта-цапка 11Б27п6

Краны шаровые относятся к промышленной арматуре и предназначены для применения в различных отраслях народного хозяйства в качестве запорных устройств на трубопроводах воды, пара, природного газа, масла и других сред, нейтральных к материалам деталей кранов.

  • Ручка-рычаг (возможна ручка-бабочка для DN15 - DN20)
  • Материал: латунь ЛЦ 40 Сд или латунь ЛЦ 40 С
  • Температура рабочей среды,°С - от - 50 до +150
  • Давление номинальное, PN, МПа - 1,6
  • Давление испытательное, PN, МПа - 2,4
  • Класс герметичности затвора - «А» по ГОСТ 9544-2005



  1. Корпус.
  2. Пробка.
  3. Гайка сальника.
  4. Втулка сальника.
  5. Ручка.
  6. Седло.
  7. Шпиндель.
  8. Крышка уплотнительная.



Значение

Параметр

DN 15

DN20

DN25

DN32

DN40

DN50

Диаметры:

- нормальный, мм

- эффективный, мм

 

15

15

 

20

17,5

 

25

24

 

32

30

 

40

37

 

50

47

Обозначение по таблице фигур:

- для природног газа

11Б27п6

Присоединение к трубопроводу,

резьба:   муфты - D (с 2-х сторон)

              шапки   - D и D1, дюйм

 

G1/2-B

G1/2-B

 

G1/2-B

G3/4-B

 

G3/4-B

G3/4-B

 

G1-B

G1-B

 

G1 1/4-B

G1 1/4-B

 

G1 1/2-B

G1 1/2-B

 

G2-B

G2-B

Масса, кг, не более

0,235

0,270

0,300

0,525

0,720

1,120

1,7

Строительная длина, L, мм, не более

59

61

68

78

90

100

120

Размер "под ключ", S (S1), мм

27 (22)

27 (27)

32 (27)

41 (36)

48 (46)

55 (48)

70 (60)

 Узнать стоимость 
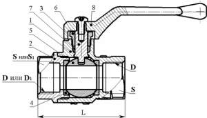
Трехходовой кран под манометр (11Б27п10,11)
Трехходовой кран под манометр (11Б27п10,11)
Трехходовой кран под манометр (11Б27п10,11)

Краны шаровые относятся к промышленной арматуре и предназначены для применения в различных отраслях народного хозяйства в качестве запорных устройств на трубопроводах воды, пара, природного газа, масла и других сред, нейтральных к материалам деталей кранов.

  • Ручка-рычаг (возможна ручка-бабочка для DN15 - DN20)
  • Материал: латунь ЛЦ 40 Сд или латунь ЛЦ 40 С
  • Температура рабочей среды,°С - от - 50 до +150
  • Давление номинальное, PN, МПа - 1,6
  • Давление испытательное, PN, МПа - 2,4
  • Класс герметичности затвора - «А» по ГОСТ 9544-2005



  1. Корпус.
  2. Крышка уплотнительная.
  3. Шпиндель.
  4. Седло.
  5. Пробка.
  6. Гайка сальника.
  7. Втулка сальника.
  8. Ручка.



Значение

Параметр

DN 15

DN20

DN25

DN32

DN40

DN50

Диаметры:

- нормальный, мм

- эффективный, мм

 

15

15

 

20

17,5

 

25

24

 

32

30

 

40

37

 

50

47

Обозначение по таблице фигур:

- для природног газа

11Б27п6

Присоединение к трубопроводу,

резьба:   муфты - D (с 2-х сторон)

              шапки   - D и D1, дюйм

 

G1/2-B

G1/2-B

 

G1/2-B

G3/4-B

 

G3/4-B

G3/4-B

 

G1-B

G1-B

 

G1 1/4-B

G1 1/4-B

 

G1 1/2-B

G1 1/2-B

 

G2-B

G2-B

Масса, кг, не более

0,235

0,270

0,300

0,525

0,720

1,120

1,7

Строительная длина, L, мм, не более

59

61

68

78

90

100

120

Размер "под ключ", S (S1), мм

27 (22)

27 (27)

32 (27)

41 (36)

48 (46)

55 (48)

70 (60)

 Узнать стоимость 
Кран шаровой для подключения манометра, газовый 11Б27п10
Кран шаровой для подключения манометра, газовый 11Б27п10
Кран шаровой для подключения манометра, газовый 11Б27п10

Краны предназначены для подключения манометра к водопроводной магистрали с рабочей средой и проверки исправности манометра при помощи контрольного манометра.

  • Ручка-рычаг (ручка-бабочка), цвет жёлтый
  • Материал основных деталей: латунь ЛЦ 40 Сд
  • Температура рабочей среды, °С - от -50 до +120
  • Давление номинальное, PN, МПа - 1,6
  • Давление испытательное, PN, МПа - 2,4
  • Класс герметичности затвора - «А» по ГОСТ 9544-2005



  1. Корпус.
  2. Крышка уплотнительная.
  3. Ручка.
  4. Седло.
  5. Пробка (шар).
  6. Шпиндель.
  7. Гайка сальникаПрокладка.
  8. Втулка (фторопластовая).
  9. Заглушка.
  10. Кольцо уплотнительное.



Значение

Параметр

DN 15

Диаметры:

- нормальный, мм

- эффективный, мм

 

15

15

Таблица фигур

11Б27п11

Резьбы присоединительной муфты

G1/2

Масса, кг, не более

0,250

Строительная длина, L, мм, не более

56

Резьба присоедингения манометров:

- рабочего

- контрольного

 

М20х1,5

М12х1,5

 Узнать стоимость 
Кран шаровой, стандартный проход, газовый, муфта 11Б27п6
Кран шаровой, газовый, стандартный проход, муфта 11Б27п6
Кран шаровой, газовый, стандартный проход, муфта 11Б27п6

Краны шаровые относятся к промышленной арматуре и предназначены для применения в различных отраслях народного хозяйства в качестве запорных устройств на трубопроводах воды, пара, природного газа, масла и других сред, нейтральных к материалам деталей кранов.

  • Ручка-рычаг (возможна ручка-бабочка для DN15 - DN20)
  • Материал: латунь ЛЦ 40 Сд или латунь ЛЦ 40 С
  • Температура рабочей среды,°С - от - 50 до +150
  • Давление номинальное, PN, МПа - 1,6
  • Давление испытательное, PN, МПа - 2,4
  • Класс герметичности затвора - «А» по ГОСТ 9544-2005



  1. Корпус.
  2. Крышка уплотнительная.
  3. Шпиндель.
  4. Седло.
  5. Пробка.
  6. Гайка сальника.
  7. Втулка сальника.
  8. Ручка.



Значение

Параметр

DN 15

DN20

DN25

DN32

DN40

DN50

Диаметры:

- нормальный, мм

- эффективный, мм

 

15

15

 

20

17,5

 

25

24

 

32

30

 

40

37

 

50

47

Обозначение по таблице фигур:

- для природног газа

11Б27п6

Присоединение к трубопроводу,

резьба:   муфты - D (с 2-х сторон)

              шапки   - D и D1, дюйм

 

G1/2-B

G1/2-B

 

G1/2-B

G3/4-B

 

G3/4-B

G3/4-B

 

G1-B

G1-B

 

G1 1/4-B

G1 1/4-B

 

G1 1/2-B

G1 1/2-B

 

G2-B

G2-B

Масса, кг, не более

0,235

0,270

0,300

0,525

0,720

1,120

1,7

Строительная длина, L, мм, не более

59

61

68

78

90

100

120

Размер "под ключ", S (S1), мм

27 (22)

27 (27)

32 (27)

41 (36)

48 (46)

55 (48)

70 (60)

 Узнать стоимость 
Наши преимущества
ОПЫТ, накопленный за 6 лет работы
ОПЫТ,
накопленный за 6 лет работы
ГАРАНТИЯ после оформления договора
ГАРАНТИЯ
после оформления договора
ДОСТАВКА на указанный адрес
ДОСТАВКА
на указанный адрес
ДОВЕРИЕ ПАРТНЁРОВ, работающих не одно 10-летие на рынке газового оборудования
ДОВЕРИЕ ПАРТНЁРОВ,
работающих не одно 10-летие на рынке газового оборудования